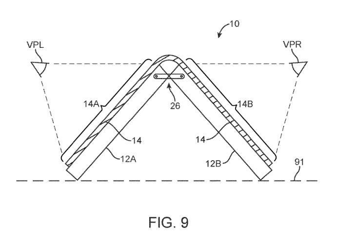
NUMKINGSTONหลังจากที่มีข่าวลือหนาหูมากขึ้นเรื่อย ๆ ว่า iPhone รุ่นใหม่ในปีนี้อาจจะเปลี่ยนมาใช้หน้าจอแสดงผลพับได้เป็นรุ่นแรก ก็มีข่าวลือประเด็นใหม่มาอีกครั้งอย่าง iPhone อาจจะรองรับการเขียนด้วย Apple Pencil
ตามรายงานจากบริษัทวิจัย EqualOcean ระบุว่า iPhone แบบพับได้จะหันมาใช้หน้าจอแสดงผล OLED ขนาดระหว่าง 7.3-7.6 นิ้ว และทำให้ตัวเครื่องและหน้าจอรองรับการเขียนด้วยสไตลัส ซึ่งปากกาที่ใช้ในอุปกรณ์ Apple ก็มีแต่ Apple Pencil เท่านั้น แต่จะเป็นดินสอดีไซน์เดิม หรือออกแบบขึ้นมาใหม่เพื่อให้พกพาร่วมกับ iPhone ได้ งานนี้ก็ต้องรอดูอัปเดตกันต่อไป
https://www.gsmarena.com/apples_foldable_iphone_will_reportedly_support_a_stylus-news-47754.php
แต่เจ้ากรมข่าวลืออย่าง Jon Prosser กลับให้รายละเอียดว่า แม้ว่าทาง Apple กำลังพัฒนาสมาร์ทโฟนแบบฝาพับก็จริง แต่ยังไม่มีแผนเปิดตัวสมาร์ทโฟนดังกล่าวภายในปี 2021 (พ.ศ. 2564) นี้ หมายความว่ากว่าเราจะได้เห็น iPhone จอพับได้ ก็ต้องรอจนกว่าจะถึงปี 2022 (พ.ศ. 2565) หรือนานกว่านั้น เพื่อการพัฒนาตัวเครื่องที่สมบูรณ์ที่สุด

https://www.gsmarena.com/apples_foldable_iphone_will_reportedly_support_a_stylus-news-47754.php
ส่วนคู่แข่งทั้งหลาย ไม่ว่าจะเป็น Google, OPPO, vivo และ Xiaomi ต่างมีแผนเปิดตัวสมาร์ทโฟนแบบฝาพับพร้อมหน้าจอพับได้ภายในปีนี้ แต่ยังไม่ทราบว่าแต่ละแบรนด์จะเลือกใช้ดีไซน์และลักษณะการพับแบบใด
คำสำคัญ
|
|
Web Content Editor ท่านหนึ่ง นิยมการเล่นมือถือเป็นชีวิตจิตใจ |