NOWHERENEARจากรายงานข่าว Nikkan Kogyo Shimbun หนังสือพิมพ์ประเทศญี่ปุ่น Canon กำลังพัฒนากล้องตัวใหม่ที่จะมาทดแทนไลน์กล้อง EOS-1D X นั่นก็คือ กล้องมิลเลอร์เลส EOS-1 R ซึ่งจะเปิดตัวในปี 2021 นี้
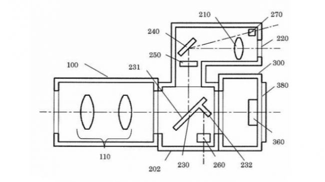
โดยกล้อง EOS-1 R นี้จะเป็นกล้องมิลเลอร์เลสที่คุณภาพอยู่ในระดับ EOS-1D X แต่ที่พิเศษคือมันสามารถใส่ช่องมองภาพกระจกแบบ Optical Viewfinder (แบบที่ใช้กับกล้อง DSLR) เพิ่มเข้าไปได้ ดังภาพต้นแบบ Prototype ทางด้านล่าง

(ขอบคุณรูปภาพจาก : JPO / Canon)
ให้สังเกตส่วนกลางในภาพนี้ กล้องตัวใหม่ EOS-1 R จะรองรับ Adapter เสริมที่ใส่ระหว่างกล้องกับเลนส์ โดยมันจะทำหน้าที่เป็นช่องมองภาพ Optical (มีกระจกมองภาพ) แทนการใช้ช่องมองภาพ Electric Viewfinder ที่อยู่บนกล้องมิลเลอร์เลส เท่ากับแปลง Mirrorless กลับมาเป็นกล้องแบบ SLR (Single-Lens Reflex) ได้
นับว่าเป็นข่าวที่ดีแก่เหล่าช่างภาพมืออาชีพที่คิดจะเลือกใช้กล้องมิลเลอร์เลส แต่ยังตัดใจจากความรู้สึกที่มองภาพผ่านช่องมอง Optical แบบเดิมไม่ได้ แต่ในอนาคตอันใกล้นี้ จะมีกล้องมิลเลอร์เลสระดับไฮเอนด์ที่มีช่องมองภาพกระจกแบบเดิมให้ใช้กันแล้ว อดใจรอกันนะครับ ถ้าหากมีอัปเดตอะไรใหม่ๆ เพิ่มเติมทางทีมงานไทยแวร์ก็จะรีบมาอัปเดตให้ได้อ่านกันนะครับ
คำสำคัญ »
|
|
It was just an ordinary day. |