ดาวน์โหลดโปรแกรมฟรี
       
   สมัครสมาชิก   เข้าสู่ระบบ
ข่าวไอที
 

Apple จดสิทธิบัตร Apple Pencil ที่สามารถตรวจจับค่าสีจากวัตถุแล้วนำไปใช้บน iPad ได้

Apple จดสิทธิบัตร Apple Pencil ที่สามารถตรวจจับค่าสีจากวัตถุแล้วนำไปใช้บน iPad ได้

เมื่อ :
|  ผู้เข้าชม : 6,622
เขียนโดย :
0 Apple+%E0%B8%88%E0%B8%94%E0%B8%AA%E0%B8%B4%E0%B8%97%E0%B8%98%E0%B8%B4%E0%B8%9A%E0%B8%B1%E0%B8%95%E0%B8%A3+Apple+Pencil+%E0%B8%97%E0%B8%B5%E0%B9%88%E0%B8%AA%E0%B8%B2%E0%B8%A1%E0%B8%B2%E0%B8%A3%E0%B8%96%E0%B8%95%E0%B8%A3%E0%B8%A7%E0%B8%88%E0%B8%88%E0%B8%B1%E0%B8%9A%E0%B8%84%E0%B9%88%E0%B8%B2%E0%B8%AA%E0%B8%B5%E0%B8%88%E0%B8%B2%E0%B8%81%E0%B8%A7%E0%B8%B1%E0%B8%95%E0%B8%96%E0%B8%B8%E0%B9%81%E0%B8%A5%E0%B9%89%E0%B8%A7%E0%B8%99%E0%B8%B3%E0%B9%84%E0%B8%9B%E0%B9%83%E0%B8%8A%E0%B9%89%E0%B8%9A%E0%B8%99+iPad+%E0%B9%84%E0%B8%94%E0%B9%89
A- A+
แชร์หน้าเว็บนี้ :

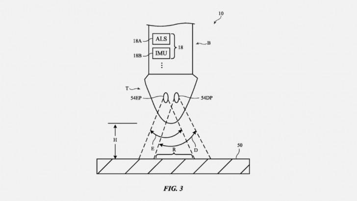
เรียกได้ว่าเป็นสวรรค์ของชาวกราฟิกดีไซเนอร์ เมื่อ Apple จดสิทธิบัตรเซนเซอร์ออปติคัลสำหรับตรวจจับสีบนวัตถุด้วยแสง เพื่อนำสีและ Texture พื้นผิวจากวัตถุนั้น ๆ มาใช้งานบน iPad ได้ โดยเจ้าเซนเซอร์นี้มีชื่อว่า "Electronic Device With Optical Sensor For Sampling Surfaces"

ทาง Apple อธิบายว่า ปากกาสไตลัสอื่น ๆ อาจมีเซนเซอร์สี (Color Sensor) สำหรับสุ่มและสร้างตัวอย่างสี พื้นผิวของวัตถุจริง และถูกส่งไปยังโปรแกรมคอมพิวเตอร์ที่ต้องใช้ข้อมูลชุดนี้ ส่วนเซนเซอร์ที่เป็นสิทธิบัตรนี้ อยู่บริเวณหัวปากกา Apple Pencil มี Optical Sensor และ Light Emitter สำหรับตรวจจับแสง เป็นส่วนประกอบหลัก ซึ่งการทำงานของ Apple Pencil ในอนาคต จะสามารถตรวจจับทั้งพื้นผิวและสีของวัตถุได้ ผ่านการปล่อยแสงจาก Light Emitter และการตรวจจับของ Optical Sensor ที่วัดค่าแสงที่แตกต่างกันมาก ๆ ได้

บทความเกี่ยวกับ Apple อื่นๆ
สไลด์รูปภาพ

 Apple จดสิทธิบัตร Apple Pencil ที่สามารถตรวจจับค่าสีจากวัตถุแล้วนำไปใช้บน iPad ได้Apple จดสิทธิบัตร Apple Pencil ที่สามารถตรวจจับค่าสีจากวัตถุแล้วนำไปใช้บน iPad ได้

https://www.iclarified.com/88724/apple-patents-apple-pencil-that-can-sample-colors-and-textures

นอกจากนี้ เซนเซอร์ยังใช้วัดค่าหลายอย่างแบบละเอียด เช่น วัดความเฉื่อย วัดมุมระหว่างวัตถุกับการวางปากกาผ่านแสงตกกระทบ ฯลฯ และข้อมูลจากเซนเซอร์เหล่านี้สามารถส่งต่อไปยังอุปกรณ์ไร้สายอื่น ๆ ได้อีกด้วย

อย่างไรก็ตาม การสร้างตัวอย่างสีและพื้นผิวจากวัตถุผ่าน Apple Pencil ยังไม่มีวี่แววว่าจะใส่ฟีเจอร์นี้มาไหนเจ้าดินสอรุ่นไหน ซึ่งก็ต้องติดตามสถานการณ์กันต่อไป เพราะเหล่ากราฟิกดีไซเนอร์ ศิลปินน่าจะรอฟีเจอร์นี้กันอยู่แน่ ๆ


ที่มา : www.iclarified.com , www.patentlyapple.com

0 Apple+%E0%B8%88%E0%B8%94%E0%B8%AA%E0%B8%B4%E0%B8%97%E0%B8%98%E0%B8%B4%E0%B8%9A%E0%B8%B1%E0%B8%95%E0%B8%A3+Apple+Pencil+%E0%B8%97%E0%B8%B5%E0%B9%88%E0%B8%AA%E0%B8%B2%E0%B8%A1%E0%B8%B2%E0%B8%A3%E0%B8%96%E0%B8%95%E0%B8%A3%E0%B8%A7%E0%B8%88%E0%B8%88%E0%B8%B1%E0%B8%9A%E0%B8%84%E0%B9%88%E0%B8%B2%E0%B8%AA%E0%B8%B5%E0%B8%88%E0%B8%B2%E0%B8%81%E0%B8%A7%E0%B8%B1%E0%B8%95%E0%B8%96%E0%B8%B8%E0%B9%81%E0%B8%A5%E0%B9%89%E0%B8%A7%E0%B8%99%E0%B8%B3%E0%B9%84%E0%B8%9B%E0%B9%83%E0%B8%8A%E0%B9%89%E0%B8%9A%E0%B8%99+iPad+%E0%B9%84%E0%B8%94%E0%B9%89
แชร์หน้าเว็บนี้ :
Keyword คำสำคัญ »
เขียนโดย
ระดับผู้ใช้ : Admin    Thaiware
Web Content Editor ท่านหนึ่ง นิยมการเล่นมือถือเป็นชีวิตจิตใจ
 
 
 

ข่าวไอทีที่เกี่ยวข้อง

 


 

แสดงความคิดเห็น