ดาวน์โหลดโปรแกรมฟรี
       
   สมัครสมาชิก   เข้าสู่ระบบ
ข่าวไอที
 

Apple จดสิทธิบัตรใหม่ คาดอาจใช้ Macbook ชาร์จอุปกรณ์อื่นของ Apple แบบไร้สายได้เร็วๆ นี้

Apple จดสิทธิบัตรใหม่ คาดอาจใช้ Macbook ชาร์จอุปกรณ์อื่นของ Apple แบบไร้สายได้เร็วๆ นี้
ภาพจาก : https://www.theverge.com/2021/1/5/22215413/apple-patent-device-wireless-charging-iphone-macbook
เมื่อ :
|  ผู้เข้าชม : 12,379
เขียนโดย :
0 Apple+%E0%B8%88%E0%B8%94%E0%B8%AA%E0%B8%B4%E0%B8%97%E0%B8%98%E0%B8%B4%E0%B8%9A%E0%B8%B1%E0%B8%95%E0%B8%A3%E0%B9%83%E0%B8%AB%E0%B8%A1%E0%B9%88+%E0%B8%84%E0%B8%B2%E0%B8%94%E0%B8%AD%E0%B8%B2%E0%B8%88%E0%B9%83%E0%B8%8A%E0%B9%89+Macbook+%E0%B8%8A%E0%B8%B2%E0%B8%A3%E0%B9%8C%E0%B8%88%E0%B8%AD%E0%B8%B8%E0%B8%9B%E0%B8%81%E0%B8%A3%E0%B8%93%E0%B9%8C%E0%B8%AD%E0%B8%B7%E0%B9%88%E0%B8%99%E0%B8%82%E0%B8%AD%E0%B8%87+Apple+%E0%B9%81%E0%B8%9A%E0%B8%9A%E0%B9%84%E0%B8%A3%E0%B9%89%E0%B8%AA%E0%B8%B2%E0%B8%A2%E0%B9%84%E0%B8%94%E0%B9%89%E0%B9%80%E0%B8%A3%E0%B9%87%E0%B8%A7%E0%B9%86+%E0%B8%99%E0%B8%B5%E0%B9%89
A- A+
แชร์หน้าเว็บนี้ :

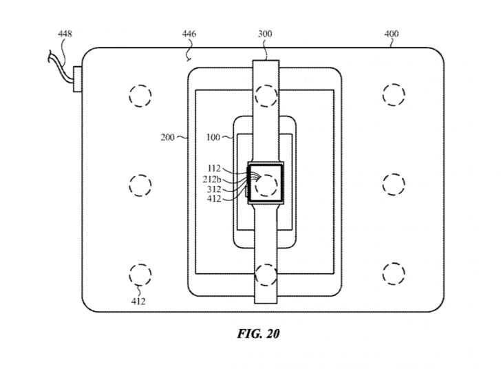
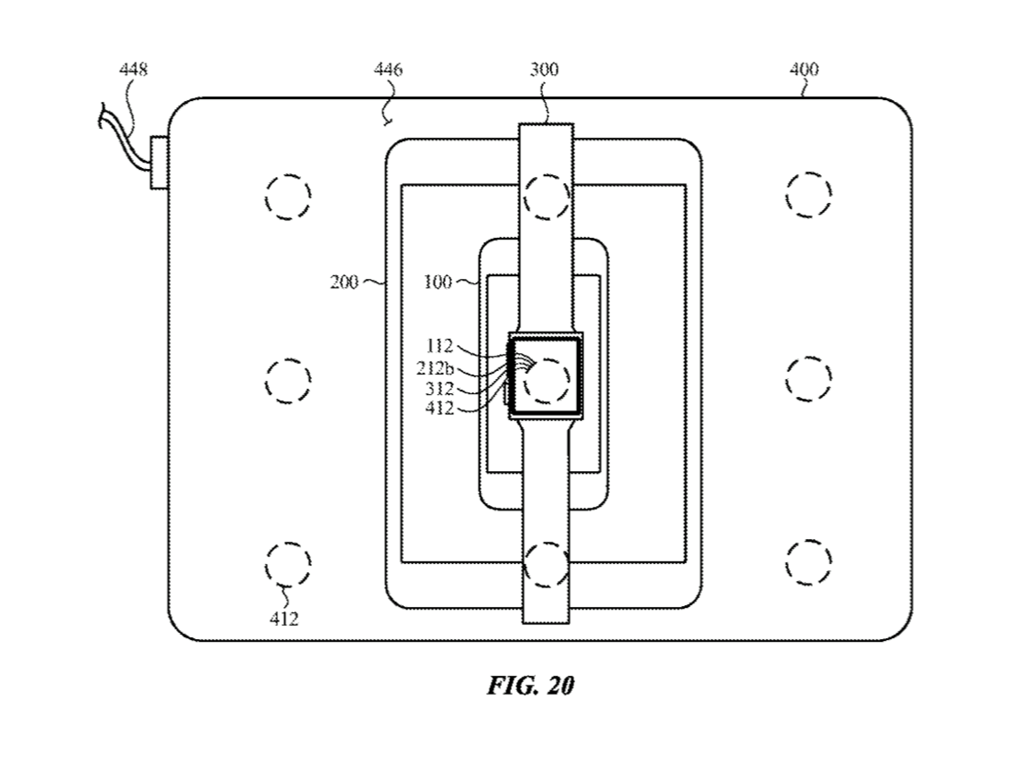
ทางบริษัท Apple ได้จดสิทธิบัตรเทคโนโลยีการชาร์จแบบไร้สาย (Wireless Charging) ใหม่อีกครั้ง โดยในครั้งนี้เป็นสิทธิบัตรที่มีลักษณะเป็น Two-way Wireless หรือการชาร์จไร้สายแบบสองช่องทาง ซึ่งจากรูปที่ทางเว็บไซต์ Patently Apple ปล่อยออกมาก็จะเห็นได้ว่าเราอาจจะสามารถใช้งาน “Macbook” เพื่อชาร์จอุปกรณ์อื่นๆ ของ Apple อย่าง iPhone, iPad หรือ Apple Watch ได้ในเร็วๆ นี้ก็เป็นได้

 Apple จดสิทธิบัตรใหม่ คาดอาจใช้ Macbook ชาร์จอุปกรณ์อื่นของ Apple แบบไร้สายได้เร็วๆ นี้
ภาพจาก : shorturl.at/kwJZ8

บทความเกี่ยวกับ Apple อื่นๆ

ซึ่งก็คาดว่าบน Macbook รุ่นใหม่ที่มาพร้อมเทคโนโลยีน่าจะมีขดลวดชาร์จ (Coil) ถึงสองรูปแบบด้วยกัน (ตัวรับและตัวจ่ายไฟ) เพื่อให้มันสามารถที่จะชาร์จตัวเครื่องแบบไร้สาย ทั้งยังสามารถใช้งานเพื่อชาร์จอุปกรณ์อื่นๆ ไปพร้อมกันด้วยนั่นเอง

โดยทางบริษัทได้อธิบายว่าอุปกรณ์อิเล็กทรอนิกส์หลายๆ ชิ้นนั้นรองรับอุปกรณ์ชาร์จในรูปแบบที่ต่างกันออกไป และถึงแม้ว่าผู้ใช้จะสามารถใช้พอร์ต USB ของ Macbook ในการเสียบชาร์จอุปกรณ์ได้ แต่มันก็มีพอร์ตชาร์จที่จำกัด และสายชาร์จรุ่นใหม่ๆ ที่มีกำลังจ่ายไฟสูงก็ปรับไปใช้หัวจ่ายไฟแบบ Type-C กันหมดแล้ว ดังนั้นเทคโนโลยีการชาร์จในลักษณะนี้ก็น่าจะเข้ามาช่วยตอบโจทย์ผู้ใช้ได้มากขึ้น เพราะผู้ใช้เพียงแค่พกอุปกรณ์ชาร์จเพียงชนิดเดียว (สายชาร์จของ Macbook) ก็สามารถใช้งานเพื่อชาร์จอุปกรณ์อื่นๆ ไปพร้อมกันได้แล้ว

Apple จดสิทธิบัตรใหม่ คาดอาจใช้ Macbook ชาร์จอุปกรณ์อื่นของ Apple แบบไร้สายได้เร็วๆ นี้
ชาร์จต่อกันแบบ Inception ไปเลย
ภาพจาก : https://www.theverge.com/2021/1/5/22215413/apple-patent-device-wireless-charging-iphone-macbook

โดยหากพัฒนาจนเสร็จสมบูรณ์ทั้งหมดแล้วก็ไม่แน่ว่าเราอาจได้เห็นอุปกรณ์ของ Apple ที่รองรับเทคโนโลยีดังกล่าวมากขึ้นและสามารถใช้งานเพื่อชาร์จอุปกรณ์อื่นอย่างต่อเนื่องกันได้ ตัดปัญหาเรื่องแบตหมดกลางทางออกไปได้เลย

อย่างไรก็ตาม วัสดุหลักของทั้ง Macbook และ iPad นั้นเป็นอลูมิเนียมที่ไม่รองรับการชาร์จแบบไร้สายได้อย่างเสถียรเท่าไรนัก และการชาร์จในลักษณะนี้ก็อาจมาพร้อมกับปัญหา “เครื่องร้อน” ได้ ไม่แน่ว่าทาง Apple จะแก้ปัญหานี้อย่างไรกันแน่ คาดว่าเราน่าจะต้องติดตามกันต่อไปในอนาคต


ที่มา : www.theverge.com , 9to5mac.com , www.patentlyapple.com

0 Apple+%E0%B8%88%E0%B8%94%E0%B8%AA%E0%B8%B4%E0%B8%97%E0%B8%98%E0%B8%B4%E0%B8%9A%E0%B8%B1%E0%B8%95%E0%B8%A3%E0%B9%83%E0%B8%AB%E0%B8%A1%E0%B9%88+%E0%B8%84%E0%B8%B2%E0%B8%94%E0%B8%AD%E0%B8%B2%E0%B8%88%E0%B9%83%E0%B8%8A%E0%B9%89+Macbook+%E0%B8%8A%E0%B8%B2%E0%B8%A3%E0%B9%8C%E0%B8%88%E0%B8%AD%E0%B8%B8%E0%B8%9B%E0%B8%81%E0%B8%A3%E0%B8%93%E0%B9%8C%E0%B8%AD%E0%B8%B7%E0%B9%88%E0%B8%99%E0%B8%82%E0%B8%AD%E0%B8%87+Apple+%E0%B9%81%E0%B8%9A%E0%B8%9A%E0%B9%84%E0%B8%A3%E0%B9%89%E0%B8%AA%E0%B8%B2%E0%B8%A2%E0%B9%84%E0%B8%94%E0%B9%89%E0%B9%80%E0%B8%A3%E0%B9%87%E0%B8%A7%E0%B9%86+%E0%B8%99%E0%B8%B5%E0%B9%89
แชร์หน้าเว็บนี้ :
Keyword คำสำคัญ »
เขียนโดย
สมาชิก : Member    สมาชิก
ตัวเม่นผู้รักในการนอน หลงใหลในการกิน และมีความใฝ่ฝันจะเป็นนักดูคอนเสิร์ตแต่เหมือนศิลปินที่ชื่นชอบจะไม่รับรู้ว่าโลกนี้มียังประเทศไทยอยู่..
 
 
 

ข่าวไอทีที่เกี่ยวข้อง

 


 

แสดงความคิดเห็น