ดาวน์โหลดโปรแกรมฟรี
       
   สมัครสมาชิก   เข้าสู่ระบบ
ข่าวไอที
 

[ลือ] Samsung อาจซุ่มพัฒนา Galaxy Watch รุ่นใหม่ที่ใช้การชาร์จด้วยพลังงานแสงอาทิตย์ !?

[ลือ] Samsung อาจซุ่มพัฒนา Galaxy Watch รุ่นใหม่ที่ใช้การชาร์จด้วยพลังงานแสงอาทิตย์ !?
ภาพจาก : https://www.sammobile.com/news/samsung-developing-solar-powered-galaxy-watch-smartwatch/
เมื่อ :
|  ผู้เข้าชม : 11,947
เขียนโดย :
0 %5B%E0%B8%A5%E0%B8%B7%E0%B8%AD%5D+Samsung+%E0%B8%AD%E0%B8%B2%E0%B8%88%E0%B8%8B%E0%B8%B8%E0%B9%88%E0%B8%A1%E0%B8%9E%E0%B8%B1%E0%B8%92%E0%B8%99%E0%B8%B2+Galaxy+Watch+%E0%B8%A3%E0%B8%B8%E0%B9%88%E0%B8%99%E0%B9%83%E0%B8%AB%E0%B8%A1%E0%B9%88%E0%B8%97%E0%B8%B5%E0%B9%88%E0%B9%83%E0%B8%8A%E0%B9%89%E0%B8%81%E0%B8%B2%E0%B8%A3%E0%B8%8A%E0%B8%B2%E0%B8%A3%E0%B9%8C%E0%B8%88%E0%B8%94%E0%B9%89%E0%B8%A7%E0%B8%A2%E0%B8%9E%E0%B8%A5%E0%B8%B1%E0%B8%87%E0%B8%87%E0%B8%B2%E0%B8%99%E0%B9%81%E0%B8%AA%E0%B8%87%E0%B8%AD%E0%B8%B2%E0%B8%97%E0%B8%B4%E0%B8%95%E0%B8%A2%E0%B9%8C+%21%3F
A- A+
แชร์หน้าเว็บนี้ :

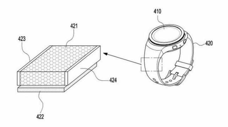
ถึงแม้ว่ามันจะดูเป็นแค่ข่าวลือออกมาแบบเลื่อนลอยว่าทางบริษัท Samsung อาจกำลังซุ่มพัฒนา Galaxy Watch ที่รองรับการชาร์จด้วยพลังงานแสงอาทิตย์ แต่ก็ไม่แน่ว่าอาจมีลุ้นได้เห็นกันในเร็ว ๆ นี้เช่นกัน เพราะทางบริษัทได้ยื่นขอจดสิทธิบัตรกับสำนักงานสิทธิบัตรและเครื่องหมายการค้าของสหรัฐอเมริกา USPTO (United States Patent and Trademark Office) เรื่องการติดตั้งแผง Solar Cell บน Smartwatch นี้ไปตั้งแต่เมื่อปี ค.ศ. 2019 (พ.ศ. 2562) แล้ว 

[ลือ] Samsung อาจซุ่มพัฒนา Galaxy Watch รุ่นใหม่ที่ใช้การชาร์จด้วยพลังงานแสงอาทิตย์ !?
ภาพจาก :  https://nl.letsgodigital.org/wearables-smartwatches/samsung-galaxy-watch-solar/

บทความเกี่ยวกับ Samsung อื่นๆ

โดยภายในสิทธิบัตรนั้นก็ระบุว่าเจ้าแผง Solar Cell นี้จะอยู่ตรงสายบริเวณใกล้กับข้อมือของผู้ใช้ (ห่างจากตัวเรือนเพียงเล็กน้อยเท่านั้น) แต่ยังไม่ได้มีรายละเอียดแน่ชัดสำหรับการทำงานของมันว่าจะออกมาในรูปแบบใดและจะใช้งานระบบใดในการควบคุมการทำงานของแผงโซลาร์เซลล์นี้เพื่อส่งจ่ายพลังงานไฟฟ้าไปชาร์จไฟที่ตัวนาฬิกา มีเพียงรูป Mockup ของ LetsGoDigital ที่ออกมาแบบคร่าว ๆ เท่านั้น

สไลด์รูปภาพ

 [ลือ] Samsung อาจซุ่มพัฒนา Galaxy Watch รุ่นใหม่ที่ใช้การชาร์จด้วยพลังงานแสงอาทิตย์ !?[ลือ] Samsung อาจซุ่มพัฒนา Galaxy Watch รุ่นใหม่ที่ใช้การชาร์จด้วยพลังงานแสงอาทิตย์ !?

รูป Mockup ของ LetsGoDigital
ภาพจาก :  https://www.androidauthority.com/samsung-solar-charging-smartwatch-3032295/ และ  https://nl.letsgodigital.org/wearables-smartwatches/samsung-galaxy-watch-solar/

อย่างไรก็ตาม การมีแผง Solar Cell สำหรับการชาร์จก็ไม่น่าจะมีประสิทธิภาพทัดเทียมกับการเสียบชาร์จตามปกติ เพียงแต่ทาง Samsung น่าจะมองในเรื่องของ Eco-friendly และการยืดอายุการใช้งานชั่วคราวตอนแบตของ Galaxy Watch ใกล้จะหมด (ในเวลากลางวัน) ได้ครู่หนึ่ง

ก็ไม่แน่ว่าเราอาจจะเห็น Smartwatch ของ Samsung ที่สามารถใช้พลังงานแสงอาทิตย์ในการชาร์จแบต (ชั่วคราว) ได้ในเร็ว ๆ นี้หรือไม่ เพราะทางบริษัทก็เพิ่ง เปิดตัว Galaxy Watch 4 ไปเมื่อไม่นานมานี้ ดังนั้นเราก็น่าจะต้องไปคาดหวังเอากับ Galaxy Watch 5 หรือในรุ่นถัด ๆ ไปแทน (แต่ก็ใช่ว่าการมีสิทธิบัตรจะผลักดันให้เกิดอุปกรณ์ที่ใช้งานเทคโนโลยีอย่างที่ระบุไว้ในสิทธิบัตรได้จริง ๆ เพราะการนำเอามาใช้งานจริงนั้นมีปัจจัยหลายอย่างที่ต้องพิจารณา ดังนั้นก็อย่าคาดหวังเอาไว้มากจะดีกว่า)


ที่มา : www.sammobile.com , www.gizmochina.com , www.androidauthority.com , www.slashgear.com

0 %5B%E0%B8%A5%E0%B8%B7%E0%B8%AD%5D+Samsung+%E0%B8%AD%E0%B8%B2%E0%B8%88%E0%B8%8B%E0%B8%B8%E0%B9%88%E0%B8%A1%E0%B8%9E%E0%B8%B1%E0%B8%92%E0%B8%99%E0%B8%B2+Galaxy+Watch+%E0%B8%A3%E0%B8%B8%E0%B9%88%E0%B8%99%E0%B9%83%E0%B8%AB%E0%B8%A1%E0%B9%88%E0%B8%97%E0%B8%B5%E0%B9%88%E0%B9%83%E0%B8%8A%E0%B9%89%E0%B8%81%E0%B8%B2%E0%B8%A3%E0%B8%8A%E0%B8%B2%E0%B8%A3%E0%B9%8C%E0%B8%88%E0%B8%94%E0%B9%89%E0%B8%A7%E0%B8%A2%E0%B8%9E%E0%B8%A5%E0%B8%B1%E0%B8%87%E0%B8%87%E0%B8%B2%E0%B8%99%E0%B9%81%E0%B8%AA%E0%B8%87%E0%B8%AD%E0%B8%B2%E0%B8%97%E0%B8%B4%E0%B8%95%E0%B8%A2%E0%B9%8C+%21%3F
แชร์หน้าเว็บนี้ :
Keyword คำสำคัญ »
เขียนโดย
สมาชิก : Member    สมาชิก
ตัวเม่นผู้รักในการนอน หลงใหลในการกิน และมีความใฝ่ฝันจะเป็นนักดูคอนเสิร์ตแต่เหมือนศิลปินที่ชื่นชอบจะไม่รับรู้ว่าโลกนี้มียังประเทศไทยอยู่..
 
 
 

ข่าวไอทีที่เกี่ยวข้อง

 


 

แสดงความคิดเห็น