NUMKINGSTONแม้เทคโนโลยีมือถือหน้าจอโค้ง มือถือหน้าจอพับได้จะพัฒนาออกมาจนหลายๆ แบรนด์ผลิตและจำหน่ายจริงไปแล้ว ไม่ว่าจะเป็น LG G Flex, HUAWEI Mate XS, Samsung Galaxy Z Fold 2, Samsung Galaxy Z Flip และอื่นๆ เชื่อว่าหลายคนน่าจะรอคอยมือถือจอพับได้จากแบรนด์ใหญ่อย่าง Apple แต่ความเป็นจริงนั้น เรื่องนี้ดูช่างเป็นไปได้ยาก เพราะไม่มีข่าวหลุดเกี่ยวกับมือถือหน้าจอพับได้มาเลย แต่ล่าสุด Apple กำลังดำเนินการจดสิทธิบัตรใหม่ (อีกแล้ว) เกี่ยวกับหน้าจอแสดงผลแบบ Sef-Healing หรือหน้าจอที่สามารถรักษาตัวเองได้
https://www.phonearena.com/news/apple-applies-for-patent-on-self-healing-display_id127541
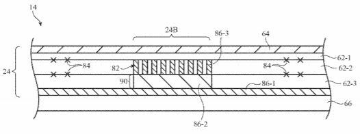
โดยสิทธิบัตรใหม่ที่ Apple ยื่นจดกับทางสำนักงานเกี่ยวกับสิทธิบัตรของสหรัฐ (USPTO) อธิบายว่า หน้าจอแสดงผลของ iPhone สามารถรักษาตัวเองจากรอบขีดข่วน รอยเปื้อนและความเสียหายต่างๆ ที่เกิดขึ้นขณะใช้งาน รวมถึงรอยที่เกิดจากการพับจอ เนื่องจากบริเวณชั้นบนสุดของหน้าจอทำจากวัสดุที่สมานตัวเองได้เมื่อมีรอยขีดข่วน และใช้ปัจจัยอื่นๆ นอกเหนือจากหน้าจอร่วมด้วย เช่น ความร้อน กระแสไฟฟ้าภายในตัวเครื่อง และตัวกระตุ้นอื่นๆ แต่ใช่ว่าเทคโนโลยีนี้จะสามารถกำจัดรอยต่างๆ ได้หมด

https://wccftech.com/apples-foldable-iphones-will-potentially-feature-a-self-healing-display/
อย่างไรก็ตาม ข้อมูลนี้ยังไม่ทำให้นิยามของหน้าจอแสดงผลพับได้มีความชัดเจนมากพอว่าจะรักษาตัวเองจากการใช้งานจริงจังอย่างไร แต่ข้อมูลในสิทธิบัตรคาดการณ์ว่าหน้าจอจะสามารถใช้งานได้ปกติ แต่ในอนาคตก็ต้องดูกันต่อไปว่าหน้าจอแสดงผลพับได้จาก Apple จะดำเนินไปในทิศทางใด
คำสำคัญ »
|
|
Web Content Editor ท่านหนึ่ง นิยมการเล่นมือถือเป็นชีวิตจิตใจ |